网站首页 手机版
 注册 登录
您现在的位置: 畅无忧设计 >> 新闻资讯 >> 技术前沿 >> 正文
最新文章
· 站在HTML5 技术最前端的Chrome实验
· W3C:2014年推出HTML5标准,2016年推
· 谷歌宣布推出Dart编程新语言
· 诺基亚绝妙3D新专利曝光
· Windows 8新功能泄露:本地文件与云服
· Facebook设计主管谈如何利用数据做决
· 金山宣布金山卫士全面开源
· Windows Phone 7明年初将加入复制粘贴
· 百度电脑管家的杀毒功能将由金山提供
· 微软将改进Windows 8语音控制功能
热门文章
 站在HTML5 技术最前端的Chrome实验
 W3C:2014年推出HTML5标准,2016年
 百度电脑管家的杀毒功能将由金山提
 众说纷“云”:漫话云计算
 Facebook设计主管谈如何利用数据做
 谷歌开发新图形验证码防止非法程序
 Windows 8新功能泄露:本地文件与云
 金山宣布金山卫士全面开源
 IE9 最后一个预览版提升了性能和对
 Adobe仿效微软IE 在Reader中启用沙
相关文章
土豆网携手诺基亚推出百万富翁计划
诺基亚绝妙3D新专利曝光
来源:手机中国 更新时间:2011/5/6 9:32:43 阅读次数:
字体:[ ] 我要投稿

  3D显示成为目前手机显示技术发展的一个前沿趋势,LG、HTC、夏普等制造商已经推出了采用裸眼3D屏幕的智能手机。不过,从最新一份来自诺基亚申请的专利来看,未来3D在手机中绝不是看看立体效果这么简单。

  

  诺基亚最新申请的关于3D的专利

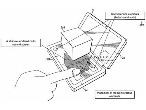
  据国外媒体报道,诺基亚最新申请了一项名为Autostereoscopic rendering and display apparatus(自动立体渲染和显示设备)的专利。根据专利的描述,这将是一款翻盖设计、拥有两个显示屏的设备,其中一个显示屏是3D的,另一个是 2D的。这一设备有一个前置摄像头,用来追踪用户的眼球运动,从而自动调节3D影像的角度和清晰度。这一点比起目前的裸眼3D手机已经是一个改进,现有的产品需要用户保持一定的角度和距离观看,否则将难以获得清晰的3D效果,并且出现头晕的症状。

  

  诺基亚最新申请的3D相关专利

  但这并不是这一专利的唯一优势,根据描述,这一设备甚至能让下方的2D屏幕显示3D影像的阴影,从而让效果更加逼真。而且,摄像头还可以计算出用户的手指与3D影像之间的位置关系,用户甚至能用手指去操控虚拟的对象!

  这个专利听起来实在太酷了,由于这款设备造型类似诺基亚Communicator系列产品,国外媒体猜测未来诺基亚很可能真的推出这样的产品(或许会命名为Communicator 3D)。不过,专利申请距离最终产品问世还有很大差距,我们或许要在几年之后才能看到结果。

  • 上一篇文章:
  • 下一篇文章:
  • 关于我们 - 联系我们 - 广告服务 - 在线投稿 - 友情链接 - 网站地图 - 版权声明
    CopyRight 2008-2010, CWYDESIGN.COM - 畅无忧设计, Inc. All Rights Reserved
    滇ICP备09005765号